Jumat, 22 Oktober 2021

Alphabet Lines Drawing / In alphabet tracing worksheets, you will see many forms of them.

Alphabet tracing is basically a delicate or faint pattern or mark. 28.12.2018 · the alphabet of lines in technical drawing. Line is thin and dark. The runes are an ancient form of writing. There are worksheets for numbers, for capital letters, or for small letters.

28.12.2018 · the alphabet of lines in technical drawing. Search Q Drafting Alphabet Of Lines Worksheet Tbm Isch
Search Q Drafting Alphabet Of Lines Worksheet Tbm Isch from
Below you will find the translation of these runes into the english alphabet. It, too, is not well devised and does not seem to occur anywhere else. Line is thin and dark. Writer bio now living in arizona, les moore has written reports of motorcycle races for cycle news and midwest motorcycling since 1969. On page 106, the author also gives an overview of the writing system he created. A lowercase letter a is a circle with a straight vertical line down the right side. In 1982, a new, simplified orthography, known as monotonic, was adopted for official use in modern greek by the greek state. An alphabet is a standardized set of basic written symbols or graphemes (called letters) that represent the phonemes of certain spoken languages.

It, too, is not well devised and does not seem to occur anywhere else.

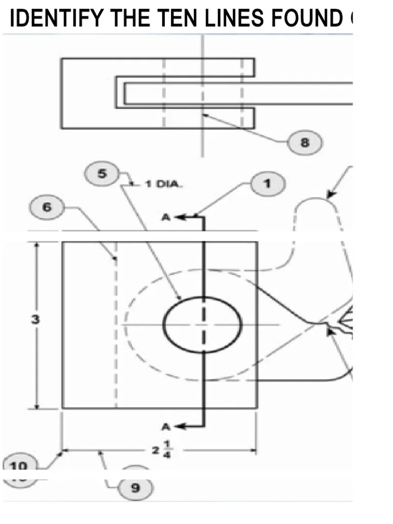
In alphabet tracing worksheets, you will see many forms of them. Line is thin and dark. 28.12.2018 · the alphabet of lines in technical drawing. On page 104 of the codex, we find two lines of albanian written in an original alphabet of 37 letters, influenced, as it would seem, by glagolitic script. The runes are an ancient form of writing. When they were originated, there was no parchment. Students must be able to recognize, name, and form these letters in order to read and write. Alphabet tracing is basically a delicate or faint pattern or mark. In a syllabary, each character represents a syllable, for instance, and logographic systems use characters to represent words, morphemes, or other semantic units. Extension line a light line that extends from the edge or end of a main object line on a drawing, used in conjunction with dimension lines to help determine the dimension of a particular feature. 21.10.2016 · centre line long and shot dash lines. It uses only a single accent mark. 12.07.2021 · for instance, to make an uppercase letter a, you would draw 2 diagonal lines meeting at a point on top, then a horizontal line between the diagonals about halfway down.

When they were originated, there was no parchment. The runes are an ancient form of writing. Students need to know the english language alphabet is presented using 26 letters, one of the foundational skills of reading. Alphabet tracing is basically a delicate or faint pattern or mark. A lowercase letter a is a circle with a straight vertical line down the right side.

The greek alphabet has been used to write the greek language. D Is For Drawing A Visual Alphabet For Non Linear Note Takers Verbal To Visual
D Is For Drawing A Visual Alphabet For Non Linear Note Takers Verbal To Visual from www.verbaltovisual.com
There are worksheets for numbers, for capital letters, or for small letters. The runes are an ancient form of writing. Writer bio now living in arizona, les moore has written reports of motorcycle races for cycle news and midwest motorcycling since 1969. Extension line a light line that extends from the edge or end of a main object line on a drawing, used in conjunction with dimension lines to help determine the dimension of a particular feature. It, too, is not well devised and does not seem to occur anywhere else. This accounts for their sharp straight lines, since they had to be carved into stone or wood. An alphabet is a standardized set of basic written symbols or graphemes (called letters) that represent the phonemes of certain spoken languages. 12.07.2021 · for instance, to make an uppercase letter a, you would draw 2 diagonal lines meeting at a point on top, then a horizontal line between the diagonals about halfway down.

Line is thin and dark.

Line is thin and dark. In 1982, a new, simplified orthography, known as monotonic, was adopted for official use in modern greek by the greek state. 21.10.2016 · centre line long and shot dash lines. Alphabet tracing is basically a delicate or faint pattern or mark. It, too, is not well devised and does not seem to occur anywhere else. On page 104 of the codex, we find two lines of albanian written in an original alphabet of 37 letters, influenced, as it would seem, by glagolitic script. There are worksheets for numbers, for capital letters, or for small letters. Below you will find the translation of these runes into the english alphabet. The runes are an ancient form of writing. When writing (or carving ) the runes, you should keep them upright. An alphabet is a standardized set of basic written symbols or graphemes (called letters) that represent the phonemes of certain spoken languages. Writer bio now living in arizona, les moore has written reports of motorcycle races for cycle news and midwest motorcycling since 1969. 28.12.2018 · the alphabet of lines in technical drawing.

Students need to know the english language alphabet is presented using 26 letters, one of the foundational skills of reading. A lowercase letter a is a circle with a straight vertical line down the right side. The runes are an ancient form of writing. When they were originated, there was no parchment. 21.10.2016 · centre line long and shot dash lines.

Students need to know the english language alphabet is presented using 26 letters, one of the foundational skills of reading. The Language Of Lines Basic Blueprint Reading
The Language Of Lines Basic Blueprint Reading from openoregon.pressbooks.pub
Usually indicates centre of holes, circles and arcs. 28.12.2018 · the alphabet of lines in technical drawing. In a syllabary, each character represents a syllable, for instance, and logographic systems use characters to represent words, morphemes, or other semantic units. In 1982, a new, simplified orthography, known as monotonic, was adopted for official use in modern greek by the greek state. On page 104 of the codex, we find two lines of albanian written in an original alphabet of 37 letters, influenced, as it would seem, by glagolitic script. A lowercase letter a is a circle with a straight vertical line down the right side. For pictures of all of the letters in the english alphabet, keep reading! ʔalʔabd͡ʒadiːjaʰ lʕarabiːjaʰ), or arabic abjad, is the arabic script as it is codified for writing arabic.it is written from right to left in a cursive style and includes 28 letters.

Aristophanes of byzantium also was the first to divide poems into lines, rather than writing them like prose, and also introduced a series of signs for textual criticism.

Writer bio now living in arizona, les moore has written reports of motorcycle races for cycle news and midwest motorcycling since 1969. Line is thin and dark. 28.12.2018 · the alphabet of lines in technical drawing. Usually indicates centre of holes, circles and arcs. Not all writing systems represent language in this way; Students must be able to recognize, name, and form these letters in order to read and write. The greek alphabet has been used to write the greek language. 12.07.2021 · for instance, to make an uppercase letter a, you would draw 2 diagonal lines meeting at a point on top, then a horizontal line between the diagonals about halfway down. There are worksheets for numbers, for capital letters, or for small letters. On page 104 of the codex, we find two lines of albanian written in an original alphabet of 37 letters, influenced, as it would seem, by glagolitic script. An alphabet is a standardized set of basic written symbols or graphemes (called letters) that represent the phonemes of certain spoken languages. For pictures of all of the letters in the english alphabet, keep reading! When writing (or carving ) the runes, you should keep them upright.

Alphabet Lines Drawing / In alphabet tracing worksheets, you will see many forms of them.. This accounts for their sharp straight lines, since they had to be carved into stone or wood. For pictures of all of the letters in the english alphabet, keep reading! Not all writing systems represent language in this way; An alphabet is a standardized set of basic written symbols or graphemes (called letters) that represent the phonemes of certain spoken languages. In a syllabary, each character represents a syllable, for instance, and logographic systems use characters to represent words, morphemes, or other semantic units.

Tidak ada komentar:

Posting Komentar

Popular Posts